一文看懂丨企业经营过程中都需要哪些环保手续(附详细流程)

发布于 2022-02-27 20:22:36

企业生命周期环境保护合规管理流程

环境影响评价流程

排污许可申领流程**
**

突发环境事件应急预案工作流程

竣工环境保护验收工作流程

清洁生产审核流程**

拆除活动污染防治流程

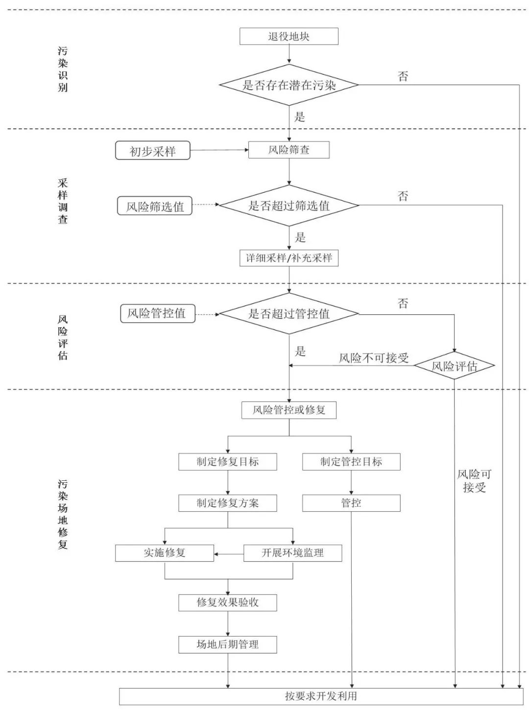
场地调查与修复流程

0 条评论

发布
问题